


電話:021-66075588
傳真:021-36213039
郵箱:shtlv6@163.com
地址:上海市寶山區(qū)市臺路388號

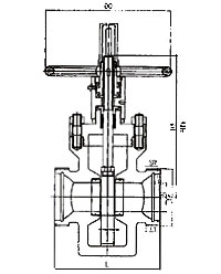
Z23X、Z23Y高壓泥漿閘閥


|
工作溫度:≤110℃ 閥體材料:優(yōu)質碳鋼、合金鋼 適用介質:泥漿、水 |
高壓泥漿閘閥外形及連接尺寸
|
公稱通徑 DN(mm) |
尺寸(mm) |
重量 (Kg) |
|||||||
|
DN |
L |
L1 |
Tr |
SR |
H |
H1 |
DO |
||
|
50 |
47 |
212 |
30 |
120×6 |
40 |
364 |
312 |
440 |
60 |
|
65 |
57 |
235 |
30 |
130×6 |
40 |
402 |
330 |
480 |
75 |
|
80 |
70 |
267 |
35 |
150×6 |
60 |
495 |
41 1 |
500 |
90 |
|
100 |
92 |
330 |
45 |
180×8 |
74 |
543 |
443 |
500 |
110 |

PN35(350) PN25(250) Z23x-325/500 A/B型 PN35(350) PN25(250)
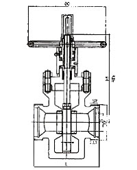
工作溫度:≤110℃
閥體材料:優(yōu)質碳鋼、合金鋼
適用介質:泥漿、水
高壓泥漿閘閥外形及連接尺寸
|
公稱通徑 DN(mm) |
尺寸(mm) |
重量 (Kg) |
|||||||
|
DN |
L |
L1 |
Tr |
SR |
H |
H1 |
DO |
||
|
50 |
47 |
212 |
30 |
120×6 |
40 |
364 |
312 |
440 |
60 |
|
65 |
57 |
235 |
30 |
130×6 |
40 |
402 |
330 |
480 |
75 |
|
80 |
70 |
267 |
35 |
150×6 |
60 |
495 |
41 1 |
500 |
90 |
|
100 |
92 |
330 |
45 |
180×8 |
74 |
543 |
443 |
500 |
110 |